Informationen zu Vibroplex "Model X"


SN 12143
Bj 1913


bug with carrying case






Bemerkungen:

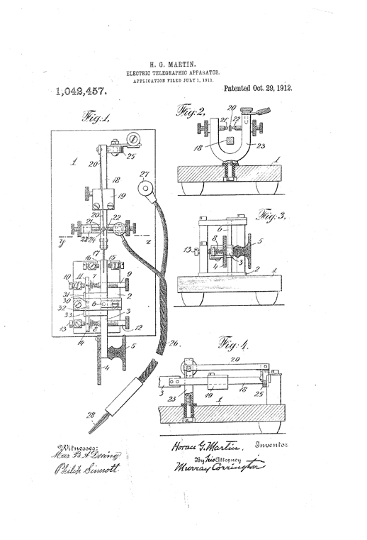
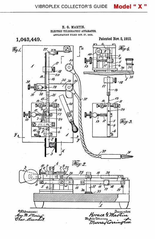
The Model X was the third Vibroplex model, and has a single contact for both dots and dashes. The Model X is based on two patents that Martin filed in 1911 and received in 1912 (numbers 1,042,457 and 1,043,449. Production began in 1911 and continued until about 1923. Two main variations of the Model X exist. The first and most common variety has a square pendulum rod, a rather complex mechanism, and a T-shaped damper assembly.









In about 1919 the “Improved X” was introduced with a simplified mechanism and a round pendulum.



The damper assembly on most “Improved X” bugs is certainly not improved. It is simply a adjustable screw with no moving damper wheel. A few of the “Improved X” bugs made around 1920 have a modernized T-damper.

Note that first-style Model X bugs have the mechanism mounted to a sub-base, and on the "early early" models (such as this) the screws for the feet protrude through the base, as on this one.